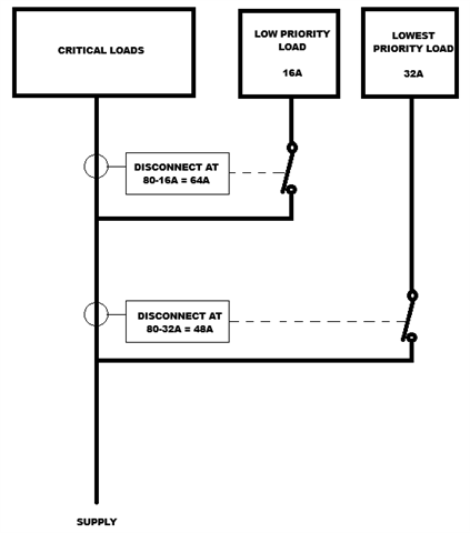
I design LV electrical installations including large current hungry domestic installs. I am frequently having single phase supplies upgraded to 3 phase for these houses due to mutiple ovens in kitchens, ASHP, AC units, EV charging etc loads. If I cannot get an upgraded 3 phase supply I want to use load shedding so that the single phase supply capacity is not exceeded. I am looking for a simple 3 phases device with current coils on the supply that will disconect chosen loads. I do not want any fancy electronics or PLCs etc. Can anyone recommend any product on the UK market that will do this.
Thanks
JP
